厂家直销、品质钢材、品类齐全、支持定制、快速供货
咨询热线:
刘总 13961737591
60秒人工快速响应
30分钟给予技术答复
24小时免费定制方案
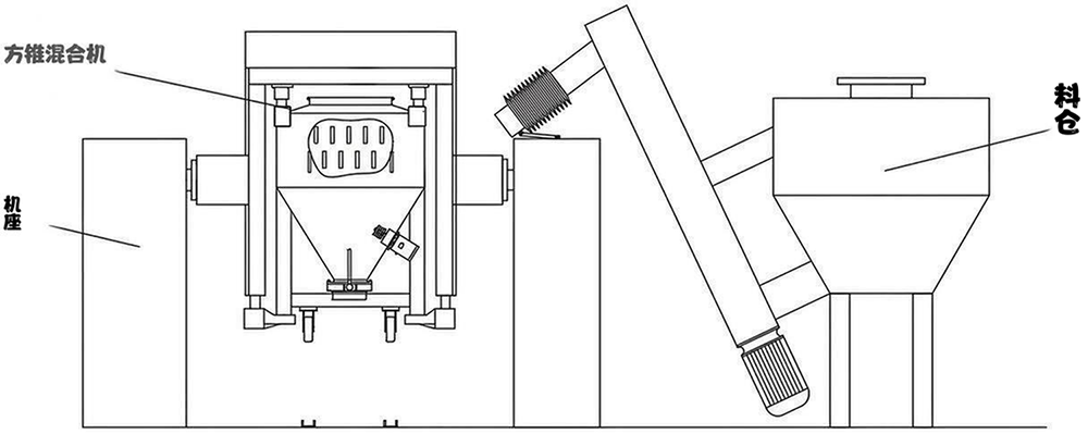
将物料装入方锥形密闭混合桶内,料斗对称的轴线与回转轴轴线成一夹角,不同成份物料在密闭的料门中进行三维空间运动,产生强烈翻转和扩散作用,达到混合效果。整机设计新颖、结构紧凑、外形美观、混合均匀度达99%,体积装料系数达0.8。


运转平稳,控制方便
回转高度低、运转平稳;采用变频调速,控制方便,性能可靠;筒体内外壁均经表面抛光,无死角、易出料、易清洗。
结构支撑,操作便捷
采用双机箱支撑结构,具有刹车定位机构及停机定位传感系统,能确保每次设定的混合周期结束前3转自动减速—停机一刹车锁紧,停机定位准确;采用变频调速、人机界面操作,画面清晰,操作便捷;内置自动、手动可切换控制模式。
定制选配
可根据用户要求,选配真空上料机以及筛分机,实现前后道工序的衔接。

尚德干燥工程竭诚为您服务