厂家直销、品质钢材、品类齐全、支持定制、快速供货
咨询热线:
刘总 13961737591
60秒人工快速响应
30分钟给予技术答复
24小时免费定制方案
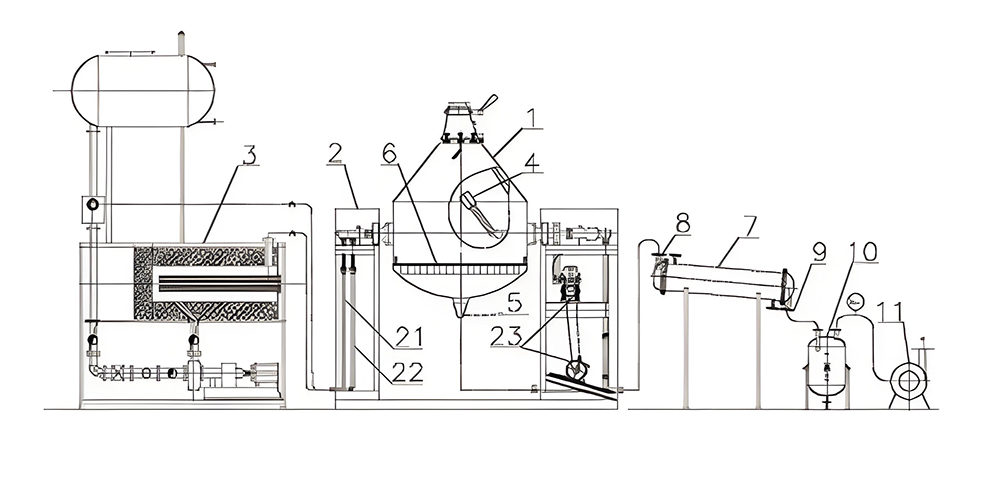
三合一真空干燥机是在双锥回转真空干燥机的基础上,结合罐式过滤、洗涤、干燥功能,结合优点改进成的一台在特定物料中具有反应、浓缩、过滤、洗涤、干燥的多功能设备,是我厂吸收国外“三合一"设备先进技术,原理和特点,结合国内实际情况进行优化设计制作的多功能设备。它可以同时替代过滤及干燥设备(如:抽滤机、压滤机、双锥干燥机和真空干燥箱等)在同一台设备内完成过滤,洗涤,干燥。适用于高新材料、附加值高、易燃、易爆、剧毒的医药及化工产品。


一体化设计
简化了工序,减少了损耗,提高产品收率,对于一些特殊的物料还可以减少与空气的接触。
过滤优化
过滤阶段气体正压、罐体底部抽真空,实行产品滤饼和母液分离,过滤材料为滤布。
设备结构
代替离心机、压滤机,设备结构紧凑占地面积小,操作简单,安全性能高。
封闭操作
处于静态抽滤,对结晶体无破坏,整个设备处于全封闭操作。
冷凝器收集
对有毒有害易燃易爆等溶剂可由冷凝器收集
方便清洁
设备拥有在线清洗、在线取样、蒸汽消毒、以防止产品污染,符合GMP要求。

尚德干燥工程竭诚为您服务